*** Attention: Current axle delivery time has decreased by Dexter to up to 6 weeks ***                                                                                                                                                                                         *** Attention: Current axle delivery time has decreased by Dexter to up to 6 weeks ***

Model 17491 Hi-Torque Acme Power Jack

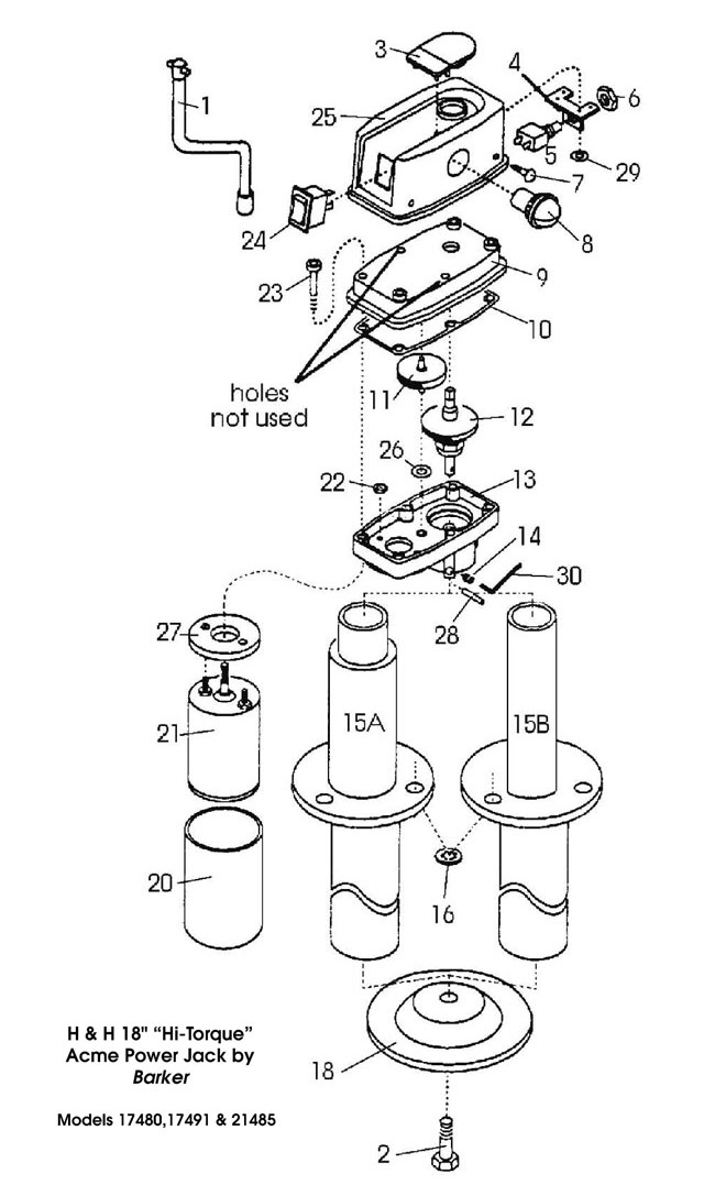
Please find the Part you need on the diagram above and click on the P/N number below in the table. Parts which are not listed below are Discontinued.


Ref #
P/N
MPN
Part Name
Part Note
11

450210

10051
Drive Gear Assy

21

450246

17414
Electric Motor